授業のワンポイント
力の大きさとばねののびの関係
■身近なものでオリンピック
力による現象の導入としてまずこの実験を行い,力がはたらくと物体はどのようになるのかを調べます。具体的には,物体に力がはたらいたときに,以下の3点に着目して調べさせます。
@力がはたらいている物体は何か。
A力をはたらかせている物体は何か。
B力がはたらいている物体はどうなるか。
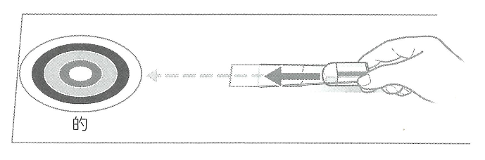
実験する競技としては様々なものが考えられますが,ここでは「輪ゴムでアーチェリー」について紹介します。
まず,紙に的をかき,輪ゴムを紙にテープでとめます。その輪ゴムに消しゴムをかけて引き,手を離して消しゴムをすべらせます。この一連の動作を何回か行い,合計点を競わせるとよいでしょう。
実験の際,輪ゴムで消しゴムを引いてすぐに手を離すと,「支える」はたらきが見いだせない場合があります。このことに注意しながら,1つ1つの動作をゆっくり,丁寧に観察しながら行うように指導してください。
また,初めに少しだけ輪ゴムを引き,どのくらい引けばどのくらい消しゴムが動くのかの感覚をつかませてから行うとよいでしょう。

■力の大きさとばねののびの関係
さて,この実験が今回の一大テーマです。ばねに加わる力の大きさとばねののびは比例すること,そして同じ大きさの力が加わったとき,ばねの強さが異なるとのびる長さも変わることを見いださせます。また,ばねののびの測定方法を習得させ,実験結果を表やグラフに表す方法に習熟させます。
実験の準備段階として,ばねの強さが大きく異なる2種類のばねをスタンドに固定します。次のような,ばねとおもり,スタンドがセットになった実験器具も市販されているので,こちらを用いてもよいでしょう。

用いる実験器具の一例
ばね方向になるように固定した後,ばね全体の長さではなくのびをはかることを強調し,基準位置(指標の位置)がものさしの0cmの位置にくるように,ものさしを固定させます。
続いて1本目のばね(ばねA)におもりを1つつり下げてのびを測定し,表に記録させます。そしておもりの数を1つずつ増やしていき,そのたびに測定結果を表に記録させます。この時,指標を真横から見てものさしの目盛りを読み取るように注意させましょう。
2本目のばね(ばねB)についても同様に実験を行います。指標がものさしの0cmの位置にくるようにものさしの位置を調整し,以後はばねAと同様です。
実験結果は,左下図のようにまとめたのち右下図のようにグラフで表し,ばねに加わる力の大きさとばねののびの関係等を考察させましょう。

実験結果をまとめた表の一例

表から得られるグラフの一例
[エネルギー]光・音・力による現象
3章 力による現象(教科書p.239〜245)
アンケート
よろしければ記事についてのご意見をお聞かせください。
Q1またはQ3のいずれか一方はご入力ください。

